[지디넷코리아] 드라마앤컴퍼니 이성준 실장이 AI가 채용 시 구직자·구인자의 탐색 및 지원을 도울 수 있다고 밝혔다. 이 실장은 11일 ‘디지털 혁신 페스타 2024’ 부대 행사인 ‘HR테크 커넥팅 데이즈’에서 ‘AI와 […]
코웨이, 초소형 가전 트렌드 주도…”1~2인 가구 공략”
[지디넷코리아] 우리나라 1인 및 2인 가구가 전체의 66%인 1천500만 가구를 넘어서면서, 집이 넓지 않아도 부담 없이 사용할 수 있도록 크기를 줄이고 디자인을 강화한 생활가전 수요가 확대됐다. 종합 가전기업 […]
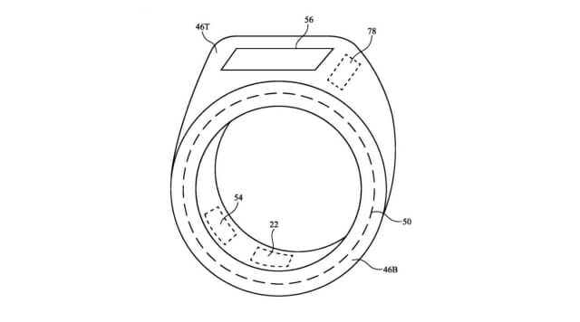
애플 스마트링 내놓을까…출시 놓고 엇갈린 전망
[지디넷코리아] 건강추적 기능이 있는 스마트링이 출시돼 인기를 얻고 있는 가운데, 애플의 스마트링 출시 계획에 대한 전망이 엇갈리고 있다. 애플이 스마트링 출시를 포기했다는 전망이 있는가 하면, 삼성 갤럭시링 대항마로 […]
엄상윤 IDQ대표 “양자 킬러앱, 실생활 분야서 나올 것”
[지디넷코리아] “내년은 양자 역학이 나온 지 100년 되는 해입니다. 양자에서도 챗GPT같은 킬러앱이 나올 것입니다. 우리 실생활과 가장 가까운 분야에서 나올 것입니다.” 11일 서울 코엑스에서 열린 ‘퀀텀 포럼 2024’의 […]
정부, 양자산업 주도할 국무총리급 거버넌스 만든다
[지디넷코리아] 정부가 국무총리를 위원장으로 하는 ‘양자전략위원회’를 설치한다. 또 양자(퀀텀)기술산업 육성을 위한 ‘양자종합계획’을 5년마다 수립하고 양자종합계획에 따른 연도별 시행계획을 매년 수립한다. 유주연 과학기술정보통신부 양자과학기술산업과 사무관은 11일 서울 삼성동 코엑스에서 […]
펌프 잭 상공에 펼쳐진 오로라
[크레모나=AP/뉴시스] 10일(현지시각) 캐나다 앨버타주 크레모나 인근에서 채유기(펌프 잭)들이 유전과 가스전을 가동하는 가운데 상공에 오로라(북극광)가 펼쳐져 있다. 2024.10.11.
열일 중인 펌프 잭 위로 펼쳐진 오로라
[크레모나=AP/뉴시스] 10일(현지시각) 캐나다 앨버타주 크레모나 인근에서 채유기(펌프 잭)들이 유전과 가스전을 가동하는 가운데 상공에 오로라(북극광)가 펼쳐져 있다. 2024.10.11.
덴마크 호수 상공 물들인 오로라
[링스테드=AP/뉴시스] 10일(현지시각) 덴마크 링스테드 인근 하랄드스테드 호수 상공에 오로라(북극광)가 펼쳐져 있다. 2024.10.11.
민주노총 "쿠팡 로켓배송 과로사 유발…심야 배송 업무 개선해야"
[서울=뉴시스]권신혁 기자 = 전국민주노동조합총연맹(민주노총)이 지난 5월 숨진 ‘쿠팡 로켓배송’ 노동자 정슬기씨의 산업재해가 인정된 것과 관련해, 쿠팡을 향해 심야노동을 개선하고 클렌징(배송수행률을 채우지 못하면 배송구역을 회수하거나 변경하는 제도)을 폐지할 것을 […]
임병택 시흥시장 "시화호 친환경 호수 거듭나게 책임 다할 것”
[시흥=뉴시스] 박석희 기자 = 임병택 경기 시흥시장은 “시화호가 친환경 글로벌 해양 호수로 거듭날 수 있도록 환경·사회적 책임을 다하겠다”고 했다. 임 시장은 최근 관내 거북섬 웨이브파크 광장과 시화호 일원에서 […]